
这道"单选题",究竟是谁出的?

今年,北京市通州区不少居民装修时都遇上了同一道难题:装修垃圾需由全区指定的一家企业统一清运,不仅价格较市场价高出上百元,还存在垃圾堆积、清运不及时的问题;原有运输企业被挡在小区外,部分消纳场被叫停,业主和物业只能被动接受这一现状……
统一清运后居民反映垃圾堆积、费用上涨
家住北京市通州区玉桥街道的李先生(化姓)怎么也没想到,装修的第一道坎,不是拆旧、改水,而是一堆装修垃圾的处置难题。
今年3月21日,他和小区物业商量妥当,把装修产生的垃圾陆续搬到楼下,可谁也没料到,这成了麻烦的开始。“本来想无缝衔接,因为现在垃圾堆在车位上了,出来进去会有剐蹭,物业帮着协商说运下来当天就拉走。”李先生说。
十天过去了,3月31日,“问北京”记者来到李先生所在的小区看到,两百多袋的装修垃圾被绿色苫布盖住,依然堆积在车位上。小区道路本就狭窄,来往的车辆经过时需要缓慢让行。李先生告诉记者,从今年起,通州区各小区的装修垃圾清运消纳,统一交由一家名为“通城建”的公司负责。垃圾运下楼至今,承诺及时清运的车辆却始终没有露面。其间,对方给出的理由也反复变化。“说在检查拉不了,又说这两天车不够使了,但这东西不能天天在那儿堆着啊。”李先生说。
装修垃圾堆积在车位上/记者 摄
走访中记者发现,在李先生所住小区周边,不少居民都遭遇了同样的装修垃圾长时间堆积、迟迟无法清运的情况。
而除了“统一清运消纳”带来的麻烦,清运的收费定价也让不少居民颇有怨言。同样住在玉桥街道的张先生(化姓)最近刚购置新房,准备装修。他告诉记者,以前业主自己找有资质的清运公司,一车装修垃圾大概800元就能搞定,可自从全区交由一家公司负责后,同样一车垃圾,收费统一为980元。
记者向张先生所在的小区物业核实装修垃圾清运的收费标准,物业工作人员表示:“备案价格是980元,整个通州区用的都是一家清运建筑垃圾的了,7方的车应该能装一百二三十袋。”
玉桥街道某小区装修垃圾堆积多日/记者 摄
2018年,北京市住建委、市城管委等多个部门印发了《关于进一步加强建筑垃圾治理工作的通知》,其中表明,实施物业管理的居民住宅小区,居民装修垃圾应当由物业服务企业统一清运,业主、装饰装修企业不得自行清运。物业服务企业受托清运居民装修垃圾,应当明码标价并选择具有经营许可的运输企业,与运输企业签订委托清运合同,与消纳场签订处置协议,并依法取得消纳证。
居民李先生所在的小区物业工作人员向记者介绍了此前装修垃圾的清运情况:“只要装修公司拿出消纳证,然后到我这签个字,核对好了,有消纳资格,那多少钱,自己跟业主商量,我们不强制介入,物业介入的是赶紧拉走。”
这名物业工作人员直言,今年以来,通州区多数小区物业企业集中接到相关通知,统一与“通城建”签订了建筑垃圾清运处置合同。如今装修垃圾清运实行统一管理、统一定价,物业公司夹在中间,也满是无奈与委屈,“所有的账都让物业去结,业主不给怎么办?业主说我能找着便宜的,这找谁说理去。物业不盯着这事,那‘通城建’或者城管会罚物业钱,那我必须得盯着这事,那多少钱也得给,只能是这样,没办法。”
“问北京”记者以居民身份,先后走访通州区玉桥街道、中仓街道、临河里街道及梨园镇的多个小区。多数小区物业工作人员明确表示,目前小区“不允许业主自行联系装修垃圾清运企业”。不过也有个别小区物业称,如果业主不同意由“通城建”清运处置建筑垃圾,可以签字确认后,自行委托具备资质的单位清运。但物业同时强调,业主自行委托的清运车辆驶出小区后,在运输途中或抵达消纳场后,是否会被查处、处罚,物业无法保证。
中仓街道某小区堆积的装修垃圾/记者 摄
记者调查清运主体关系
在玉桥街道地界内的某小区楼栋门口,“问北京”记者看到,张贴有一张“关于小区装修建筑垃圾清运的通知”,其中标明:为维护小区环境卫生以及公共秩序,规范装修垃圾清运管理,接上级通知,政府指定合作清运单位为“北京壹鑫土石方市政工程有限公司”,清运价格为980元/车。
关于小区装修建筑垃圾清运的通知
北京壹鑫土石方市政工程有限公司与此前提到的“通城建”有什么关联?记者以居民身份致电张贴通知的村委会询问情况,工作人员表示:“它是三方,‘通城建’和壹鑫土石方这是三方的合同,找‘通城建’和找壹鑫土石方都是一家。”
记者辗转于通州区的三家物业服务企业,都看到了这一“三方合同”,其名为”北京市建筑垃圾收集运输、处理服务合同”。合同甲方为建筑垃圾的生产单位,也就是小区的物业服务企业。乙方为具有垃圾收集运输营经许可的垃圾收集、运输服务企业,即北京壹鑫土石方市政工程有限公司。丙方为具有垃圾消纳场所设置许可或经有关部门备案设立的垃圾处置场所的专业服务企业,即北京市通州市政工程有限责任公司。据查询,北京市通州市政工程有限责任公司的控股股东为北京通州城市建设运行集团有限公司,也就是业主和物业提及的“通城建”。记者也拨打了北京市通州市政工程有限责任公司在天眼查所登记的电话,但是无人接听。
记者以装修业主的身份向合同中的乙方——北京壹鑫土石方市政工程有限公司询问装修垃圾清运的相关情况。
记者:以后只能找咱一家,我们自己找(其他清运单位)都没戏是吧?
公司负责人:也可以找,但是出了事跟我们没有关系。
记者:现在资质那些都不给批了?
公司负责人:不是,现在是把控特别严,如果一旦让“行政执法”逮着了,一是物业倒霉,二是业主倒霉,肯定跟我们没有关系。
记者:“行政执法”以后就只认咱这一家了?
公司负责人:对,有可能是,现在接到通知就是这么个活儿,主要得看这三方协议,不管哪个物业公司,那三方协议确认好了,才能拉。
为进一步核实了解情况,“问北京”记者联系了此前长期在通州区进行装修垃圾运输的两家证照资质齐全的公司,其中一家运输公司表示,只要物业不同意,其他运输企业就无法进入小区。另一家公司的工作人员则指出,如今的局面形成了行业垄断,相关问题他们也正在等待解决,目前很多清运工作都处于停滞状态。对于这样的情况,居民张先生表示:“这是不是抢了好多人的饭碗?人家那么多运输队,靠这吃饭的。”
玉桥街道某小区堆积的装修垃圾/记者 摄
装修垃圾清运不及时、统一定价不合理……针对各方反映的种种问题,记者以市民身份向玉桥街道办反映情况,工作人员表示:“我们也解决不了,因为全区定的那一家,是城市管理委定的,只允许这一家公司有这清运的资质。以前其他公司清运的话,把别人的资质都取消了。”
紧接着,记者致电通州区城管委反映情况,一名工作人员表示,目前通州区仅有一处消纳场,装修垃圾只能运往此处处置。而对于运输企业,业主可向物业推荐具备资质的单位,“因为我们只负责审批,至于它和物业签合同,是物业和消纳场双方之间的事情。如果怀疑它行业垄断的话,您该举报举报。”这名工作人员说。
对于目前部分小区出现的装修垃圾清运不及时的情况,这名工作人员解释称:
通州区城管委:目前这个消纳场估计还接收不了装修垃圾,它签了合同,估计备案也备不了。现在通州区的所有小区,估计装修垃圾都卸不出去,因为通州区没有接收装修垃圾的消纳场。
记者:您说的这个消纳场意思它现在资质还不合格?
通州区城管委:对,它现在只是一个贮存点,没有升级。升级完之后,它估计才能接受装修的垃圾。因为这个设备是他们自己在建,这不是我们给他建,知道具体哪一天,这还说不准。
记者:您说这消纳场就也是“通城建”吗?
通州区城管委:对。
玉桥街道某小区堆积的装修垃圾/记者 摄
“问北京”记者在北京市建筑垃圾管理与服务平台查询到了一处名叫“通州市政垡头南区建筑垃圾临时贮存场站”的点位。公开信息显示,这家场站的联系人,与通州区多数小区物业签订的三方协议中的丙方——北京市通州市政工程有限责任公司的法定代表人为同一人。
记者也拨打该场站在平台上公示的联系电话,接电话的工作人员表示,自己是通州市政垡头南区建筑垃圾临时贮存场站的负责人,这一场站归属于“通城建”。
场站负责人:这个属于通城建。因为咱们是国企单位,承揽通州区一个是装修垃圾,一个是建筑垃圾,现在通州区只有垡头场站来收这个。
记者:意思以后就咱一家管这个,其他小企业就都不行了?
场站负责人:对,因为咱们全北京市都在运作,这个就是都由国企单位来承担了。
装修垃圾清运问题谁来厘清?
记者随后又以市民身份将情况反映给了北京市城市管理委员会,工作人员表示,对于目前“通城建”负责通州区装修建筑垃圾运输处置一事,市城管委已经知晓,”我们已经向通州区指出过这个问题,这个事你直接向通州区纪委反映。”
市城管委工作人员明确,市级层面并未对通州区建筑垃圾处置企业作出限制,“通州区有很多家处置企业可以选择,应该有选择权。现在全北京市公布了有1800家运输企业,还有大概七八十家的处理企业。这应该是一个市场化的事,不能是一个垄断的事。”同时,这名工作人员表示,北京市建筑垃圾管理与服务平台公开的通州区建筑垃圾消纳场也不止一家。
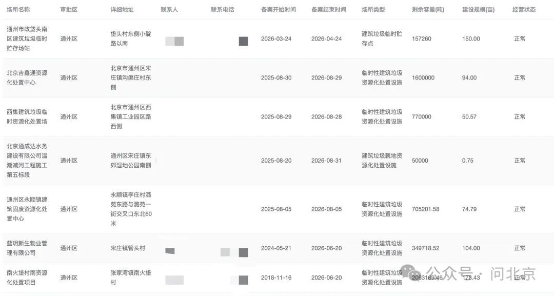
记者通过“北京市建筑垃圾管理与服务平台”查询“建筑垃圾消纳场及临时处置点”信息发现,通州区共有七处公开显示的场所。除通州市政垡头场站为“建筑垃圾临时贮存点”外,其余六处公示场所均为“临时性建筑垃圾资源化处置设施或建筑垃圾就地资源化处置设施”。
记者从多方核实了解到,通州区此前原本有多家证照齐全、资质合规、具备处置能力的建筑垃圾消纳场。但从今年起,这些消纳场无论资质是否有效、三方运输合同是否到期,均被相关部门一律叫停,只允许“通城建”一家进行。其他消纳场的工作人员无奈表示,眼下大家“有心无力”“两个多月一分收入都没有”。
通州区建筑垃圾消纳场及临时处置点信息
记者也将了解到的情况反映至北京市市场监督管理局。工作人员表示,市民遇到类似情况可通过市监局对外公布的举报热线投诉举报。
截至发稿,通州区装修垃圾依然堆积在多个小区。一边是市区两级城管部门"应该市场化、不能垄断"的明确表态,一边是"全区只此一家、其他资质都被取消"的现实;一边是七处公示的消纳场所,一边是"只有一个临时贮存点还能用"的说法。居民想知道:这堆垃圾,到底什么时候能拉走?这道"单选题",又究竟是谁出的?
后续进展,“问北京”将持续关注。