近千万岗位空缺中!这个新兴职业与每个人都有关!一文读懂→_北京时间

近千万岗位空缺中!这个新兴职业与每个人都有关!一文读懂→

“长期护理保险”已经在北京全面正式实施。“十五五”时期,长期护理保险将从试点转向全面建制,将用三年左右时间,基本建立适应我国基本国情的长期护理保险制度。长期照护师,正是因“长期护理保险”而广受关注的新兴职业。
社保“第六险”带火新职业
长期照护师撑起“老有所护”底气
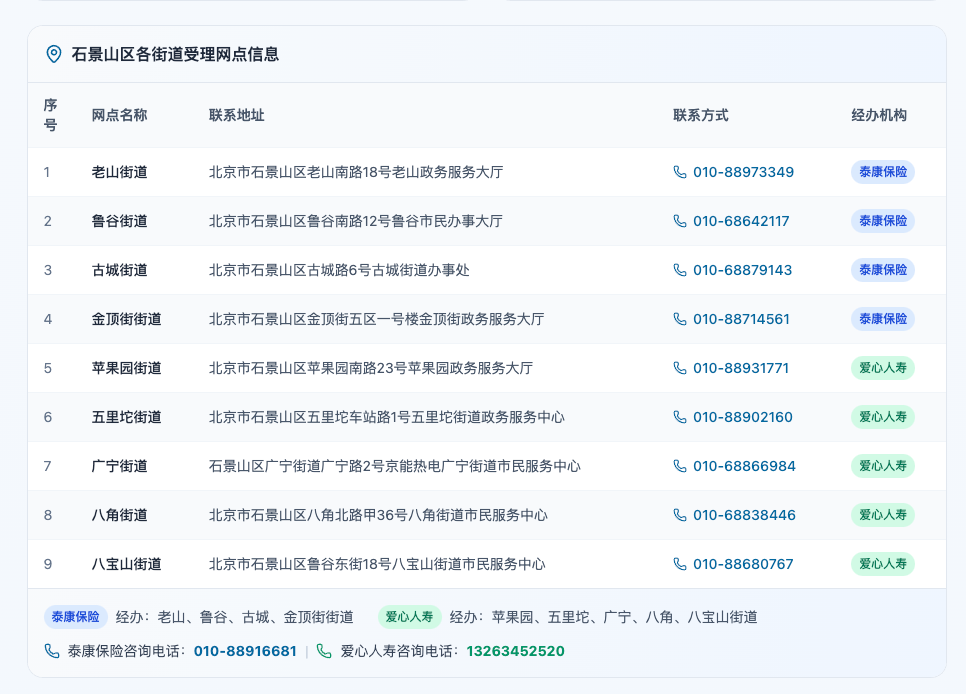
长期护理保险是针对连续失能、失智六个月以上的参保人的一种国家级社保,也是国家社保的“第六险”。北京市石景山区,是北京自2018年开展试点以来,唯一落地长期护理保险的行政区。
早晨8点50分,长期照护师张海玲就已经给卧床老人、96岁的魏奶奶剪完头发,马上开始洗发了。
四年前,2022年1月,老人由于失能,开始享受长护险待遇,也是在这个时候,张海玲来到了这个家庭。当时还没有长期照护师这个职业名称,她经过养老护理员的培训,考核通过后上岗,每周都会来到这里照顾老人家。2025年底,张海玲考取了长期照护师的五级证书,她也成为了北京市第一批持证上岗的长期照护师。
家属满意,这是对张海玲工作的最大肯定。在张海玲摘下口罩的时候,记者发现,张海玲很年轻。
张海玲说:“我今年才36岁,我觉得干到退休没有问题,只要自己肯坚持,工资也非常不错,大概就在8000元左右。这个行业不会失业,因为老人会越来越多。”
中高职院校布局“智慧康养”
托起幸福“夕阳红”
从智能照护到健康管理,从适老化设计到运营服务,近年来,部分中高职院校紧贴社会需求,将“智慧康养”融入人才培养全过程,让学生们在学习中对接社会需求 ,为“老有所养”注入职教力量。
随着越来越多的人开始关注长期照护师这个新行业,一批培养长期照护师的培训学校应运而生,这家玉医职业技能培训学校就是石景山区招生最多的一家,实操训练室里,模拟病房、护理床、轮椅、助行器、喂食模拟道具一应俱全,长期照护师不是简单的护工,而且课堂上,还出现了一些年轻人。
正在与老师互动学习的是一位“00后”,她叫刘清虹,今年刚满26岁,看得出,给卧床老人穿裤子这件事,她还得慢慢学。
学员刘清虹说:“我是00年的,来自于重庆,我学的是计算机专业,这个专业不太好找工作,所以我想去学一个技能,所以才来到这边。 ”
石景山区玉医职业技能培训学校校长刘全友说:“目前,全国失能、半失能的老人有4500万,但是执证上岗的只有1万多人,至少需要1000万的长期照护师,有小1000万的岗位空缺。”
养老照护走向标准化
长期照护师前景广阔
对于不少养老机构而言,如果为社区长者提供例如康复治疗等居家养老服务,往往会涉及到现场服务质量监管是否到位的问题。管理部门在运用各种手段,量化服务标准,甚至还有智能科技AI的加持。
细到为老人擦浴时热水的温度、全身清洁的时间,鼻饲照护、吸氧的顺序等等,这些都被一一写进了石景山区扩大长期护理保险制度试点的材料汇编中,为的就是让长期照护师这个职业迈向标准化、规范化、专业化的发展新阶段。
石景山区医疗保障局长期护理保险试点科科长张婵溪说:“石景山每年参保长护险的人在42万人以上,每年享受待遇的人在2800人左右。如今,石景山已经有200人长期照护师执政上岗,石景山累计签约机构78家。”
如何申请长护险待遇?
如何报考长期照护师
长期照护师是国家为加强长期护理服务人才队伍建设、促进长期照护职业化发展而设立的新型职业工种。人力资源社会保障部、国家医保局于2022年在职业分类大典中新增“长期照护师”职业工种,并于2024年2月共同发布了长期照护师国家职业标准。
具体来说,长期照护师是运用基本生活照料及护理知识、技能,在家庭、社区、机构等场所,为长期护理保险待遇享受人员等人群提供基本生活照料及与之密切相关的医疗护理、功能维护、心理照护等服务的从业人员。
长期照护师新职业工种的建立和发展,将有效缓解当前失能人员专业护理服务供给匮乏的现状,成为长期护理保险发展的重要支撑,并能推动护理行业和职业教育提质扩容,扩大就业渠道。
长期照护师有几个等级
长期照护师工种现设三个等级,分别为:五级/初级工、四级/中级工、三级/高级工。
五级/初级工需掌握生活照护、基础护理、应急处置、功能维护相关技能;
四级/中级工需掌握生活照护、基础护理、对症护理、功能维护、心理照护相关技能;
三级/高级工需掌握基础护理、疾病护理、功能维护、心理照护相关技能。
报考长期照护师需要什么条件
报考长期照护师五级/初级工没有学历、工龄等方面的限制,凡年满16周岁的劳动者、身心健康、拟从事或正在从事相关长期照护服务工作的人员都可以自愿报名参加长期照护师培训和考试。
报考长期照护师四级/中级工、三级/高级工须具备的条件依据《健康照护师(长期照护师)国家职业标准》人力资源社会保障部办公厅 国家医疗保障局办公室关于颁布健康照护师(长期照护师)国家职业标准的通知
怎样参加长期照护师培训
有意向报考长期照护师的人员,可使用全国统一的《长期照护师国家职业技能等级认定培训教材》职业新机遇!长期照护师国家职业技能等级认定培训教材正式发布进行自主学习;也可根据实际需要,关注当地组织的相关培训信息,参加具备资质的培训机构按照长期照护师国家职业标准、职业培训包、职业培训教材设定的系统化培训。无论选择何种学习方式,报考人员原则上均需达到国家职业标准规定的培训参考时长。
哪里可以报考长期照护师
各省(区、市)目前已组织开展长期照护师职业技能等级认定的机构名单如下,具体信息可登录技能人才评价工作网(www.osta.org.cn)查询。有意向报考人员可关注各认定机构查阅考试报名通知,相关信息也将通过国家和省级医保部门网站同步转发。
哪里可以查询长期照护师证书
考试合格人员取得的职业技能等级证书,可通过技能人才评价工作网(www.osta.org.cn)进行全国联网查询。
来源:BRTV新闻(记者 胡知奂 牛月华)

近千万岗位空缺中!这个新兴职业与每个人都有关!一文读懂→

“长期护理保险”已经在北京全面正式实施。“十五五”时期,长期护理保险将从试点转向全面建制,将用三年左右时间,基本建立适应我国基本国情的长期护理保险制度。长期照护师,正是因“长期护理保险”而广受关注的新兴职业。
社保“第六险”带火新职业
长期照护师撑起“老有所护”底气
长期护理保险是针对连续失能、失智六个月以上的参保人的一种国家级社保,也是国家社保的“第六险”。北京市石景山区,是北京自2018年开展试点以来,唯一落地长期护理保险的行政区。
早晨8点50分,长期照护师张海玲就已经给卧床老人、96岁的魏奶奶剪完头发,马上开始洗发了。
四年前,2022年1月,老人由于失能,开始享受长护险待遇,也是在这个时候,张海玲来到了这个家庭。当时还没有长期照护师这个职业名称,她经过养老护理员的培训,考核通过后上岗,每周都会来到这里照顾老人家。2025年底,张海玲考取了长期照护师的五级证书,她也成为了北京市第一批持证上岗的长期照护师。
家属满意,这是对张海玲工作的最大肯定。在张海玲摘下口罩的时候,记者发现,张海玲很年轻。
张海玲说:“我今年才36岁,我觉得干到退休没有问题,只要自己肯坚持,工资也非常不错,大概就在8000元左右。这个行业不会失业,因为老人会越来越多。”
中高职院校布局“智慧康养”
托起幸福“夕阳红”
从智能照护到健康管理,从适老化设计到运营服务,近年来,部分中高职院校紧贴社会需求,将“智慧康养”融入人才培养全过程,让学生们在学习中对接社会需求 ,为“老有所养”注入职教力量。
随着越来越多的人开始关注长期照护师这个新行业,一批培养长期照护师的培训学校应运而生,这家玉医职业技能培训学校就是石景山区招生最多的一家,实操训练室里,模拟病房、护理床、轮椅、助行器、喂食模拟道具一应俱全,长期照护师不是简单的护工,而且课堂上,还出现了一些年轻人。
正在与老师互动学习的是一位“00后”,她叫刘清虹,今年刚满26岁,看得出,给卧床老人穿裤子这件事,她还得慢慢学。
学员刘清虹说:“我是00年的,来自于重庆,我学的是计算机专业,这个专业不太好找工作,所以我想去学一个技能,所以才来到这边。 ”
石景山区玉医职业技能培训学校校长刘全友说:“目前,全国失能、半失能的老人有4500万,但是执证上岗的只有1万多人,至少需要1000万的长期照护师,有小1000万的岗位空缺。”
养老照护走向标准化
长期照护师前景广阔
对于不少养老机构而言,如果为社区长者提供例如康复治疗等居家养老服务,往往会涉及到现场服务质量监管是否到位的问题。管理部门在运用各种手段,量化服务标准,甚至还有智能科技AI的加持。
细到为老人擦浴时热水的温度、全身清洁的时间,鼻饲照护、吸氧的顺序等等,这些都被一一写进了石景山区扩大长期护理保险制度试点的材料汇编中,为的就是让长期照护师这个职业迈向标准化、规范化、专业化的发展新阶段。
石景山区医疗保障局长期护理保险试点科科长张婵溪说:“石景山每年参保长护险的人在42万人以上,每年享受待遇的人在2800人左右。如今,石景山已经有200人长期照护师执政上岗,石景山累计签约机构78家。”
如何申请长护险待遇?
如何报考长期照护师
长期照护师是国家为加强长期护理服务人才队伍建设、促进长期照护职业化发展而设立的新型职业工种。人力资源社会保障部、国家医保局于2022年在职业分类大典中新增“长期照护师”职业工种,并于2024年2月共同发布了长期照护师国家职业标准。
具体来说,长期照护师是运用基本生活照料及护理知识、技能,在家庭、社区、机构等场所,为长期护理保险待遇享受人员等人群提供基本生活照料及与之密切相关的医疗护理、功能维护、心理照护等服务的从业人员。
长期照护师新职业工种的建立和发展,将有效缓解当前失能人员专业护理服务供给匮乏的现状,成为长期护理保险发展的重要支撑,并能推动护理行业和职业教育提质扩容,扩大就业渠道。
长期照护师有几个等级
长期照护师工种现设三个等级,分别为:五级/初级工、四级/中级工、三级/高级工。
五级/初级工需掌握生活照护、基础护理、应急处置、功能维护相关技能;
四级/中级工需掌握生活照护、基础护理、对症护理、功能维护、心理照护相关技能;
三级/高级工需掌握基础护理、疾病护理、功能维护、心理照护相关技能。
报考长期照护师需要什么条件
报考长期照护师五级/初级工没有学历、工龄等方面的限制,凡年满16周岁的劳动者、身心健康、拟从事或正在从事相关长期照护服务工作的人员都可以自愿报名参加长期照护师培训和考试。
报考长期照护师四级/中级工、三级/高级工须具备的条件依据《健康照护师(长期照护师)国家职业标准》人力资源社会保障部办公厅 国家医疗保障局办公室关于颁布健康照护师(长期照护师)国家职业标准的通知
怎样参加长期照护师培训
有意向报考长期照护师的人员,可使用全国统一的《长期照护师国家职业技能等级认定培训教材》职业新机遇!长期照护师国家职业技能等级认定培训教材正式发布进行自主学习;也可根据实际需要,关注当地组织的相关培训信息,参加具备资质的培训机构按照长期照护师国家职业标准、职业培训包、职业培训教材设定的系统化培训。无论选择何种学习方式,报考人员原则上均需达到国家职业标准规定的培训参考时长。
哪里可以报考长期照护师
各省(区、市)目前已组织开展长期照护师职业技能等级认定的机构名单如下,具体信息可登录技能人才评价工作网(www.osta.org.cn)查询。有意向报考人员可关注各认定机构查阅考试报名通知,相关信息也将通过国家和省级医保部门网站同步转发。
哪里可以查询长期照护师证书
考试合格人员取得的职业技能等级证书,可通过技能人才评价工作网(www.osta.org.cn)进行全国联网查询。
来源:BRTV新闻(记者 胡知奂 牛月华)